Depuis le lancement du Lunettes de réalité augmentée Applele VisionProles constructeurs semblent avoir voulu copier cette tendance. Récemment, nous avons vu comment Samsung est également entré dans ce monde avec son nouvelles lunettes Galaxy XRun s’orienter ce qui semble maintenant aussi HUAWEI va continuer. Selon le nouveau brevet déposé par la marque chinoise, elle se cache derrière une paire de lunettes de réalité augmentée avec une particularitéune bague que l’on peut détacher vérifier les lunettes.
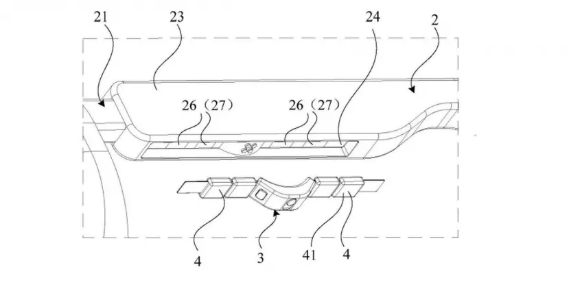
Le brevet de HUAWEI comprend un contrôleur intégré que vous pouvez détacher
Le brevet montre comment une bague est attachée directement sur les verres, où vous pouvez l’utiliser pour contrôles de base de cet ensemble comme appuyer et glisser. Mais l’avantage est que tu peux l’enlever et le mettre à tes doigts comme une bague, où il t’offrira contrôle de l’interface de ces lunettes, ce qui facilite leur utilisation sans avoir besoin d’utiliser des commandes supplémentaires.

Une bague que vous pouvez mettre pour contrôler les lunettes
Une option dont dépend son bon fonctionnement lorsque reconnaître les gestes et les mouvementspour un bon fonctionnement en général se passer de manettes de jeu ou de contrôleurs séparément. Pendant qu’il est amarré aussi rechargera votre batteriele laissant prêt à l’emploi lorsque vous ne portez pas vos lunettes.

Une fois amarré, il rechargera sa batterie
Mais pour le moment ce n’est qu’un breveton ne sait pas si HUAWEI décidera de lancer sur le marché ce nouveau système inclus dans les lunettes AR/VR. Un enregistrement n’indique pas que le produit final sera vu sur le marché, mais oui c’est une bonne idée pour intégrer un contrôleur de lunettes sans avoir à transporter d’autres accessoires supplémentaires.